At Emory Office of Technology Transfer (OTT), we’ve trailblazed many “firsts” in our 40 years, which have opened the door to hundreds of discoveries, partnerships, and breakthroughs — events that continue to define our impact today. Here are 9 milestones worth remembering.
First Invention Disclosure: A Potential Drug to Control Steroids

David Lambeth, PhD, submitted Emory OTT’s first invention disclosure.
In 1985, the same year OTT began, the first invention disclosure was submitted: “Novel Compounds for Inhibition of Steroid Biosynthesis” from inventor Dave Lambeth, PhD. An invention disclosure is the confidential document that starts the journey from idea to impact, capturing the details of a discovery so OTT can explore its commercial potential and begin the process of protection. Lambeth’s was a significant first, describing compounds designed to block steroid biosynthesis — a biological process linked to a range of diseases. This milestone set the tone for what would become a long legacy of innovation at Emory, paving the way for thousands of discoveries in the decades to come.
First Product Approval: QuantEMTM
Just eight years after OTT’s founding, the first FDA approval came for one of its portfolio technologies. QuantEM is a software for processing MAG3 renal scans, and it was granted 501(k) approval on August 5, 1993. The software was created by Emory inventors Andrew Taylor, Jr., MD, and Ernest V. Garcia, PhD. Emory OTT negotiated QuantEM’s licensing to GE Medical Systems (now GE Healthcare) in 1993, and the technology was later brought to market.
Most recent product approval: May 10, 2022: The FDA approved Olumiant (baricitinib) for the treatment of acute COVID-19 in hospitalized adults. (Before the approval for COVID-19 treatment, baricitinib was already approved and on the market for the indication of rheumatoid arthritis.)
First Emory Start-Up Acquisition: Atrionix
In December 2000, Emory OTT marked the first acquisition of one of its start-ups when Atrionix, a start-up company born from Emory research and specializing in cardiac devices for diagnosing and treating atrial fibrillation, was purchased by Johnson & Johnson. Atrionix’s technology streamlined treatment, reduced patient trauma, and lowered costs for a condition affecting millions worldwide. The acquisition by one of the world’s largest healthcare companies validated the commercial strength of Emory-developed technology — not only on its ability to further patient care, but its viability in the marketplace.
Most recent acquisition: Primatope Therapeutics, which develops therapeutic antibodies that can be used to control inflammation and transplant rejection, was acquired by Kiniksa Pharmaceuticals on March 8, 2019.
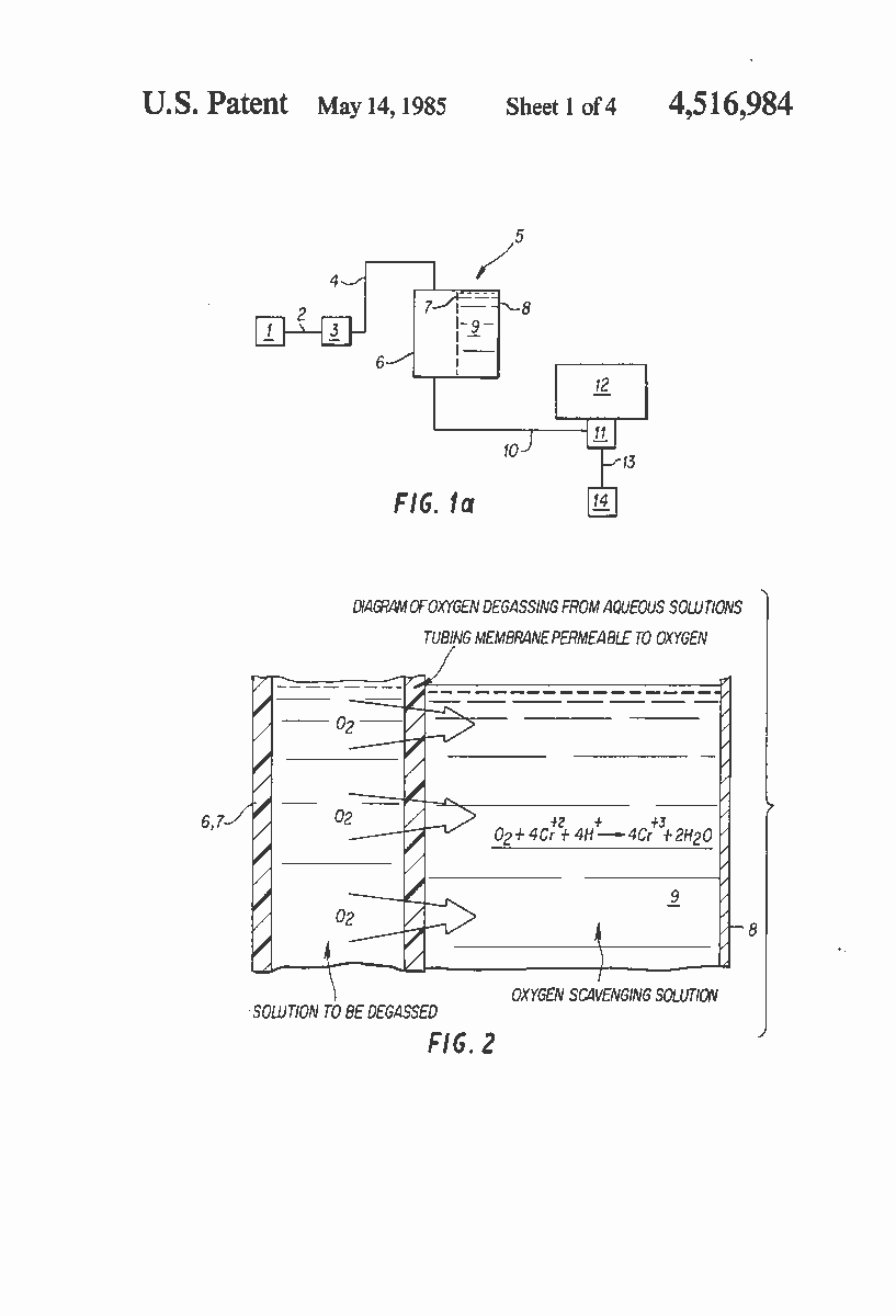
First U.S. Patent Issued: A Method of Removing Oxygen from Liquids

First page of patent US4516984A: Degassing process and apparatus for removal of oxygen
In 1985, Emory was granted its first U.S. patent (Patent No. 4,516,984) for a Degassing Process and Apparatus for Removal of Oxygen from inventor Isiah Warner, PhD. A patent protects an invention by granting the holder exclusive rights to make, use, and license it, critical for attracting partners, securing investment, and ensuring that innovations can be developed without risk of being copied. This particular invention offered a practical method for reducing oxygen in fluids, valuable in industries where oxygen control improves stability, safety, or performance. Intellectual property protection is a key step of the commercialization process, and since FY 2000, more than 900 U.S. patents have been issued for Emory inventions, making this first patent the opening chapter in a portfolio that has grown into a staple part of the university’s innovation pipeline.
First Start-Up and First Start-Up IPO: CytRx
In 1986, CytRx Corporation marked two significant firsts: the creation of Emory’s first start-up company and the first Emory start-up to have an initial public offering (IPO). Specializing in oncology drug development, CytRx — which relaunched as LadRx Corporation in 2022 — advanced multiple clinical programs targeting cancers like pancreatic and gastric cancer. In the world of commercialization, an IPO signals a company’s transition from private ownership into the public capital markets, unlocking the ability to raise substantial funding from global investors, expand operations, and compete at a higher level. This achievement showcased the potential of Emory-born companies to grow, attract investment, and compete on a national stage.
Most recent start-up IPO: Neuronetics, Inc., a medical technology company focused on designing, developing, and marketing products that improve the quality of life for patients who suffer from psychiatric disorders, announced its IPO on January 28, 2021.
First Start-Up Listed on NASDAQ / Russell 3000: Pharmasset
Pharmasset, a start-up developing treatments for the Hepatitis C virus, was the first Emory start-up to be listed on major stock indices such as NASDAQ and the Russell 3000. Index listing signals a company has reached a significant enough size, stability, and market recognition to meet the strict inclusion standards and opens access to larger investors and increases visibility with analysts and industry leaders. Pharmasset’s eventual $11 billion acquisition by Gilead Sciences in 2012 demonstrated its immense value and market potential, raising the bar for what an Emory success story could be.
Most recent start-up listed on the exchange: GeoVax shares began trading on the Nasdaq on September 25, 2020, under the symbol GOVX.
First Annual Celebration: April 2007

Awards from 2025’s Tech Partnership Forum
Emory OTT hosted its first Annual Celebration of Technology and Innovation in Spring 2007 at the Emory Conference Center, launching what would become a signature tradition for the office. The inaugural event hosted a panel of esteemed researchers, including Raymond Schinazi, Dennis Liotta, Ernest Garcia, and Trent Spencer. Later versions introduced awards — Innovation of the Year, Deal of the Year, Start-Up of the Year, and Significant Event of the Year — designed to honor the achievements of Emory researchers and partners in bringing ideas to market. Now called the Technology Partnership Forum, the event has grown into an annual gathering that recognizes groundbreaking discoveries and the people driving them, while strengthening connections across Emory’s innovation community.
Most recent annual event: April 17, 2025
First In-House Legal Team: Emory Patent Group

The first members of Emory Patent Group, (l to r): Randi Isaacs, Winsome Dunn, Susanne Hollinger, James Mason
In 2010, OTT created the Emory Patent Group (EPG) to bring patent filing and strategy under its own roof for the first time. Having this expertise in-house gave OTT greater control over how its innovations were protected and positioned for commercialization, and it gave the office a competitive edge over other university offices which do not typically have this in-house group. (To this day, no more than 10 to 15 academic technology transfer offices have this valuable resource.) The move also delivered practical benefits, saving the university about $500,000 annually while doubling the output of patent filings, making the transition to an in-house legal team one of the most impactful shifts in how OTT supports and advances Emory research.
First Investment in an Emory Start-Up: GeoVax
Emory’s support for GeoVax Labs marked the first time the university took an equity stake in one of its spin-out companies. At the time, direct investment by a university in start-ups was uncommon, but OTT saw potential in GeoVax, a pharmaceutical company aimed at creating a vaccine for HIV. This early backing provided invaluable support, helping the company gain traction during its formative years. It also set the stage for future partnerships, demonstrating how Emory could serve as an active stakeholder alongside its innovators in bringing new therapies to market.
Each of these “firsts” opened new avenues for Emory to move discoveries from research to the real world, strengthening a legacy of impact in technology transfer that continues today. As we mark 40 years, we aim to create even more milestones, keeping the office at the forefront of innovation.
— Parker Wenig